Válvula solenoide de acero inoxidable de alto rendimiento para control de fluidos industriales

Hogar / Productos / Repuestos del dispensador de combustible / Todo tipo de válvulas dispensadoras de combustible / Válvula solenoide de acero inoxidable de alto rendimiento para control de fluidos industriales

Válvula solenoide de acero inoxidable de alto rendimiento para control de fluidos industriales

Válvula solenoide de acero inoxidable de alto rendimiento para control de fluidos industriales

En la automatización industrial moderna, un control confiable de los fluidos es esencial. La válvula solenoide de acero inoxidable de la serie SV-XX, fabricada en acero inoxidable 316 duradero, está especialmente diseñada para aplicaciones en las industrias de combustibles, química, metalúrgica, energética y alimentaria. Ya sea para almacenamiento en tuberías o para sistemas de suministro de fluidos de precisión, proporciona un control de encendido y apagado preciso y estable para garantizar una operación segura y eficiente.

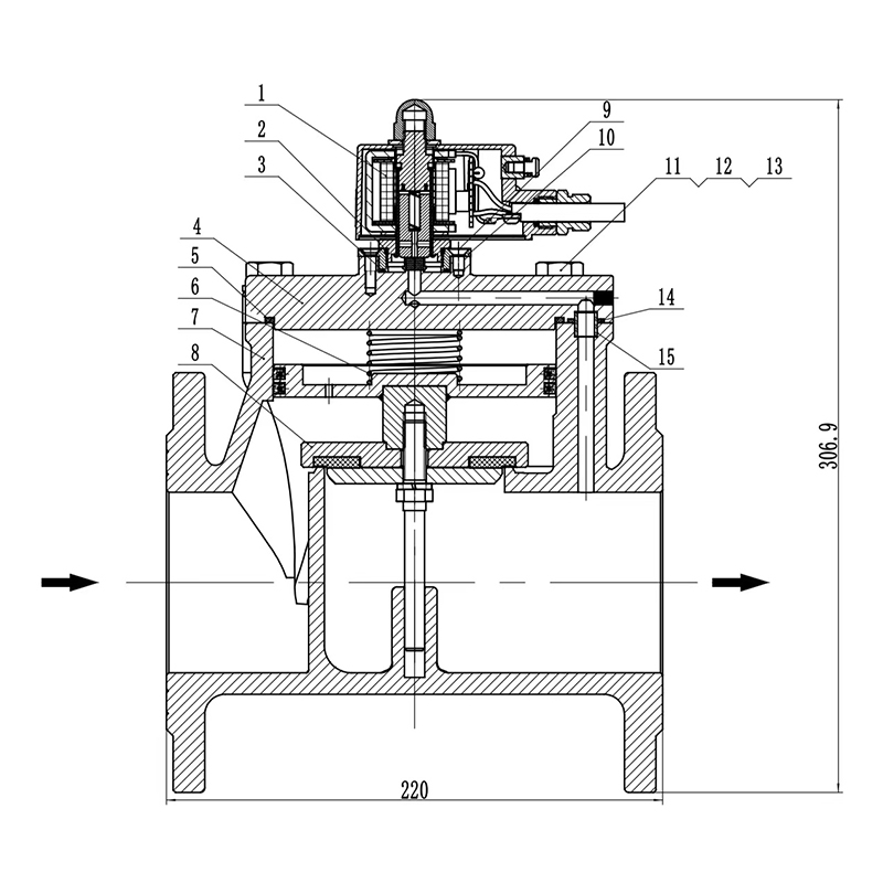
Esta válvula cuenta con un innovador mecanismo de válvula principal de tipo pistón, que aborda eficazmente el problema común de los diafragmas de caucho tradicionales que se vuelven quebradizos o se agrietan en condiciones de baja temperatura. Sigue siendo muy fiable incluso en temperaturas tan bajas como -40°C. Con capacidades graduadas de apertura y cierre, permite un ajuste preciso del flujo según diferentes etapas operativas. La válvula ofrece un sellado excelente, una respuesta rápida, un funcionamiento suave y sin golpe de ariete. El mantenimiento es sencillo y la vida útil supera los 100.000 ciclos, lo que reduce el tiempo de inactividad y los costes de mantenimiento.

La serie SV-XX admite múltiples voltajes (CA 220V/50Hz, CC 24V/12V) y está disponible en diámetros nominales DN50 y DN80. El modelo DN50 es adecuado para aplicaciones de flujo medio con un caudal máximo de 380 L/min, mientras que el modelo DN80 maneja aplicaciones de alto flujo con un caudal máximo de 750 L/min. La válvula es compatible con gasolina, diésel, agua y otros líquidos industriales, lo que demuestra una versatilidad excepcional.

A nivel mundial, esta válvula se conoce con diferentes nombres: en Estados Unidos y Canadá, a menudo se la llama válvula solenoide de acero inoxidable o válvula de control de líquido industrial; en Europa, los ingenieros de Alemania y Francia se refieren a ella como Magnetventil aus Edelstahl o Electrovanne en acier inoxydable; en Japón, se la conoce como ステンレスソレノイドバルブ. En China y Taiwán, comúnmente se la llama 不锈钢电磁阀 o válvula de control de fluidos industriales. Estos múltiples nombres reflejan su uso industrial generalizado y su reconocimiento internacional.

La serie SV-XX es ideal no sólo para dispensadores de combustible tradicionales sino también para tuberías químicas, sistemas de transferencia de fluidos y procesamiento de alimentos y bebidas. Proporciona un control estable y preciso incluso en temperaturas extremas, líquidos corrosivos o entornos de operación de alta frecuencia, lo que lo convierte en una opción confiable para los sistemas de control de fluidos industriales.

  • Especificación
  • Contáctenos

Esta serie de válvulas es adecuada para su uso como actuador de control automatizado en el almacenamiento y transporte de tuberías en industrias como la petrolera, química, metalúrgica, energética y alimentaria. Los componentes principales incluyen un dispositivo de control de solenoide, una válvula principal, una válvula auxiliar, una válvula piloto y elementos de conmutación de la válvula principal. La característica clave es que los principales elementos de conmutación de válvulas consisten en un mecanismo de pistón, lo que aborda el inconveniente de los diafragmas de caucho en la tecnología existente que tienden a endurecerse y agrietarse en ambientes de baja temperatura con medios de gasolina. Esto hace que la válvula sea especialmente adecuada para válvulas de control de solenoide en dispensadores de combustible en diversos entornos de temperatura. Además, puede realizar una apertura y cierre gradual de la válvula, ofreciendo ventajas como un amplio rango de temperatura aplicable, sellado hermético, apertura rápida, funcionamiento flexible y estable, confiabilidad y sin golpe de ariete. Es de fácil mantenimiento y tiene una vida útil de más de 100.000 ciclos.

N.o de artículo: SV-50

Tamaño: DN50

Max. Caudal: 380L/Min.

Caudal mínimo: 50 L/min.

Max. Presión de trabajo: 10 bar

Material de la carrocería Acero inoxidable 316

Voltaje: AC220V, 50 Hz, DC24V/12V es la opción

Dimensiones del embalaje: 36X33X30 cm

Peso neto: 13 kg

Peso bruto: 14 KGS

Paquete: 1 pieza/caja

N.o de artículo: SV-80

Tamaño: DN80

Max. Caudal: 750L/Min.

Caudal mínimo: 50 L/min.

Max. Presión de trabajo: 10 bar

Material de la carrocería Acero inoxidable 316

Voltaje: AC220V, 50 Hz, DC24V/12V es la opción Packing Dimension:49X42X342cm,

Peso neto: 16 kg

Peso bruto: 23 KGS

Paquete: 1 pieza/caja

Acerca de Haibo
Zhejiang Haibo Equipo de Petróleo Co., Ltd.

Zhejiang Haibo Petroleum Equipment Co., Ltd., establecida en 2017, es una empresa certificada ubicada en el condado de Yongjia, ciudad de Wenzhou, provincia de Zhejiang—, reconocida mundialmente como la base de fabricación de equipos petroleros más grande del mundo y la conocida ciudad natal de bombas y válvulas en China.
Nuestros productos se utilizan ampliamente en sistemas de control de fluidos, sistemas de energía, sistemas de medición, sistemas de tuberías y sistemas hidráulicos, y prestan servicios a compañías petroleras, unidades militares, depósitos de petróleo, fabricantes de camiones cisterna y estaciones de servicio en todo el mundo. Provincia—reconocida mundialmente como la base de fabricación de equipos petroleros más grande del mundo y la conocida ciudad natal de bombas y válvulas en China.
En Haibo, contamos con el respaldo de un equipo de expertos senior de la industria con más de 20 años de experiencia profesional en los sectores de equipos petroleros y control de fluidos. Su profundo conocimiento técnico y su conocimiento de la industria garantizan que cada producto y solución que ofrecemos cumpla con los más altos estándares de calidad, confiabilidad y rendimiento.

Certificado de honor
  • Certificado de patente de modelo de utilidad
  • Certificado de patente de modelo de utilidad
  • Certificado de patente de modelo de utilidad
  • Certificado de patente de modelo de utilidad
Noticias